Saturday, March 2, 2019

Hamilton Beach Proctor Silex Coffee Maker Parts

If you are looking for hamilton beach proctor silex coffee maker parts, you've come to the rightand best place. keurig coffee maker sells a wide range of items, from dress, electronic, accessories to all another products. keurig coffee maker is considered to be a reliable place to buy products at a lower price than you would domestically. The company also provides shoppers with complete refunds on products that arrive late, damaged, or don't arrive at all. The majority of merchants selling products on keurig coffee maker and source all of their merchandise are imports, and this keeps cost low so the potential buyer can get goods at a low price.

keurig coffee maker is one of the favourite online stores for buying hamilton beach proctor silex coffee maker parts at much lower prices than you would pay if shopping on other similar services. Find and buy hamilton beach proctor silex coffee maker parts from keurig coffee maker with low prices and good quality all over the world. It considered a safe and reliable place to purchase online on keurig coffee maker.

25+ Products, Discount and Coupon Hamilton Beach Proctor Silex Coffee Maker Parts

Amazon.com: Proctor-Silex #88185 12C Black Replacement

Amazon.com: Proctor-Silex #88185 12C Black Replacement

Amazon.com: Brentwood 1.2 Liter Stainless Steel Tea Kettle

Get Coupon Order Now

Amazon.com: Hamilton Beach Brand 88180 12c Replacement

Amazon.com: Hamilton Beach Brand 88180 12c Replacement

Programmable 12 Cup Coffee Maker (black) - Model 43672

Get Coupon Order Now

Amazon.com: Hamilton Beach 49970 Personal Cup One Cup Pod

Amazon.com: Hamilton Beach 49970 Personal Cup One Cup Pod

100 Cup Coffee Maker | Proctor Silex 45100 Coffee Urn (100

Get Coupon Order Now

Hamilton Beach - 37560R - Proctor-Silex® 60c Rice Cooker

Hamilton Beach - 37560R - Proctor-Silex® 60c Rice Cooker

Amazon.com: Hamilton Beach Brand 88180 12c Replacement

Get Coupon Order Now

Amazon.com : Universal Fit 12 Cup Glass Coffee Carafe Fits

Amazon.com : Universal Fit 12 Cup Glass Coffee Carafe Fits

12 Cup Compact Coffee Maker - Model 49758A - ProctorSilex.com

Get Coupon Order Now

Proctor Silex 43601 White 12 Cup Coffee Maker

Proctor Silex 43601 White 12 Cup Coffee Maker

Amazon.com: Proctor-Silex #88185 12C Black Replacement

Get Coupon Order Now

Proctor Silex 8 to 12 Cup Permanent Gold-Tone Filter

Proctor Silex 8 To 12 Cup Permanent Gold-Tone Filter

Hamilton Beach 45100R Proctor-Silex Aluminum Coffee Urn

Get Coupon Order Now

HAMILTON BEACH/PROCTOR SILEX AUTO COFFEEMAKER Parts

HAMILTON BEACH/PROCTOR SILEX AUTO COFFEEMAKER Parts

Amazon.com: Crucial Coffee Replacement Filter Compatible

Get Coupon Order Now

Hamilton Beach PROCTOR SILEX 12 Cup Coffeemaker | Walmart

Hamilton Beach PROCTOR SILEX 12 Cup Coffeemaker | Walmart

Proctor Silex 14oz. Single Serve Coffee Maker : Target

Get Coupon Order Now

Hamilton Beach PROCTOR SILEX 12 Cup Coffeemaker | Walmart

Hamilton Beach PROCTOR SILEX 12 Cup Coffeemaker | Walmart

Amazon.com: Hamilton Beach 49970 Personal Cup One Cup Pod

Get Coupon Order Now

Proctor Silex 4 Cup Coffeemaker | Jet.com

Proctor Silex 4 Cup Coffeemaker | Jet.com

Hamilton Beach PROCTOR SILEX 12 Cup Coffeemaker | Walmart

Get Coupon Order Now

Hamilton Beach 45100R Proctor-Silex Aluminum Coffee Urn

Hamilton Beach 45100R Proctor-Silex Aluminum Coffee Urn

Hamilton Beach PROCTOR SILEX 12 Cup Coffeemaker | Walmart

Get Coupon Order Now

Amazon.com: Crucial Coffee Cone Filter Replacement Part

Amazon.com: Crucial Coffee Cone Filter Replacement Part

Amazon.com: Hamilton Beach 49970 Personal Cup One Cup Pod

Get Coupon Order Now

Amazon Best Sellers: Best Coffee Urns

Amazon Best Sellers: Best Coffee Urns

Hamilton Beach 45040R Proctor-Silex Aluminum Coffee Urn

Get Coupon Order Now

Amazon.com: Hamilton Beach 12-Cup Coffee Maker with Glass

Amazon.com: Hamilton Beach 12-Cup Coffee Maker With Glass

Proctor Silex 4 Cup Coffeemaker | Jet.com

Get Coupon Order Now

Hamilton Beach Brands Inc. ZID1N2AHQFI Proctor Silex 45040

Hamilton Beach Brands Inc. ZID1N2AHQFI Proctor Silex 45040

Amazon.com: Hamilton Beach 12-Cup Coffee Maker with Glass

Get Coupon Order Now

Amazon.com: Brentwood 1.2 Liter Stainless Steel Tea Kettle

Amazon.com: Brentwood 1.2 Liter Stainless Steel Tea Kettle

Amazon.com: Hamilton Beach 12 Cup Programmable Coffee

Get Coupon Order Now

Amazon.com: Hamilton Beach 12-Cup Coffee Maker with Glass

Amazon.com: Hamilton Beach 12-Cup Coffee Maker With Glass

Amazon.com: THE ORIGINAL GOLDTONE BRAND Reusable Cone

Get Coupon Order Now

hamilton beach blender replacement parts – softwarereview.info

Hamilton Beach Blender Replacement Parts – Softwarereview.info

12 Cup Automatic Coffee Maker (black)-48524RY

Get Coupon Order Now

Proctor Silex® Commercial High-Performance Blender

Proctor Silex® Commercial High-Performance Blender

Hamilton Beach 45100R Proctor-Silex Aluminum Coffee Urn

Get Coupon Order Now

12 Cup Compact Coffee Maker - Model 49758A - ProctorSilex.com

12 Cup Compact Coffee Maker - Model 49758A - ProctorSilex.com

Proctor Silex 14oz. Single Serve Coffee Maker : Target

Get Coupon Order Now

Amazon.com: Hamilton Beach 12 Cup Programmable Coffee

Amazon.com: Hamilton Beach 12 Cup Programmable Coffee

Programmable 12 Cup Coffee Maker (black) - Model 43672

Get Coupon Order Now

Proctor Silex Commercial 55000 Blender 64 oz. Container

Proctor Silex Commercial 55000 Blender 64 Oz. Container

HAMILTON BEACH/PROCTOR SILEX AUTO COFFEEMAKER Parts

Get Coupon Order Now

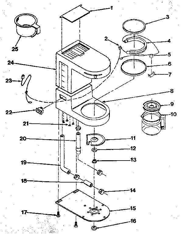
Proctor Silex Coffee Maker Parts & Repair Help | Fix.com

Proctor Silex Coffee Maker Parts & Repair Help | Fix.com

Programmable 12 Cup Coffee Maker (black) - Model 43672

Get Coupon Order Now

Amazon.com: Hamilton Beach 49970 Personal Cup One Cup Pod

Amazon.com: Hamilton Beach 49970 Personal Cup One Cup Pod

Amazon.com: THE ORIGINAL GOLDTONE BRAND Reusable Cone

Get Coupon Order Now

Proctor Silex 43671 White Programmable 12 Cup Coffee Maker

Proctor Silex 43671 White Programmable 12 Cup Coffee Maker

Amazon.com: Proctor-Silex #88185 12C Black Replacement

Get Coupon Order Now

Hamilton Beach Proctor Silex Coffee Maker Parts Reviews

proctor-silex-single-serve-plus-coffee-maker-review,-excellent-hybrid-coffee-maker
Proctor Silex Single Serve Plus Coffee Maker Review, Excellent Hybrid Coffee Maker

Duration: 03:34. Views: 16000+

↓ Download ► Watch


how-to-repair-any-drip-coffee-maker
How To Repair Any Drip Coffee Maker

Duration: 05:37. Views: 176000+

↓ Download ► Watch


how-to-fix-coffee-maker-that-does-not-boil-water
How To Fix Coffee Maker That Does Not Boil Water

Duration: 06:00. Views: 28000+

↓ Download ► Watch


proctor-silex-single-serve-plus-review!!!
Proctor Silex Single Serve Plus Review!!!

Duration: 13:22. Views: 674

↓ Download ► Watch


how-to-:-coffee-maker-quick-fix
How To : Coffee Maker Quick Fix

Duration: 06:23. Views: 39000+

↓ Download ► Watch


demo:-proctor-silex®-commercial---37560r-and-37540-series-rice-cooker-/-warmers
Demo: Proctor Silex® Commercial 37560r And 37540 Series Rice Cooker / Warmers

Duration: 00:57. Views: 2000+

↓ Download ► Watch


get-proctor-silex-k2070ya-electric-kettle,-1-liter
Get Proctor Silex K2070ya Electric Kettle, 1 Liter

Duration: 01:55. Views: 346

↓ Download ► Watch


instructions---100-cup/42-cup-coffee-maker/percolator
Instructions 100 Cup/42 Cup Coffee Maker/percolator

Duration: 03:25. Views: 2000+

↓ Download ► Watch


hamilton-beach-flex-brew-is-my-new-coffee-maker.
Hamilton Beach Flex Brew Is My New Coffee Maker.

Duration: 02:45. Views: 13000+

↓ Download ► Watch


hamilton-beach-40515-42-cup-coffee-urn,-silver
Hamilton Beach 40515 42 Cup Coffee Urn, Silver

Duration: 00:36. Views: 4000+

↓ Download ► Watch


hamilton-beach-55000-proctor-silex®-high-powered-blender-review-+-giveaway
Hamilton Beach 55000 Proctor Silex® High Powered Blender Review + Giveaway

Duration: 12:14. Views: 2000+

↓ Download ► Watch


hamilton-beach-mini-drip-1977
Hamilton Beach Mini Drip 1977

Duration: 00:30. Views: 372

↓ Download ► Watch


No comments:

Post a Comment